厂家直销 wj410
铍铜弹簧供应信息 铍铜弹簧批发 铍铜弹簧价格 找铍铜弹簧产品上
供应09年 u型接线端子
各种接线柱批发 各种接线柱供应 各种接线柱厂家
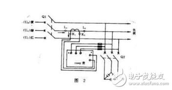
功率因数表原理 功率因数表怎么接线
防爆纯铜电机接线柱m5 m16图片,防爆纯铜电机接线柱m5 m16高清图片 东光县铭轩电机配件厂,
l1和l2是零线还是火线
供应防爆电机接线柱
翔升gts450 金刚版 1g d5显卡产品图片8素材 it168显卡图片大全
领先电声技术 麦博2012发布会新品展示
用伏安法测电阻时.所用器材及实验电路图如下图1所示.请你根据实验电路图.用笔画线连接好实物电路 图2 . 实物图中a.b为滑动变阻器上线圈两端的接线柱 题目和参考答案
熊五金件供应商,价格,熊五金件批发市场
电子用塑胶制品价格 电子用塑胶制品厂家 电子用塑胶制品批发
湖北118开关工程开关迪洛朗开关厂家诚招加盟
公司介绍
索尼70 400mm f4 5.6 g ssm镜头产品图片40素材 it168镜头图片大全
供应八路无源有源双绞线传输器
小强做测定 小灯泡的电功率 实验时.所用器材有电压为6v的电源.额定电压为3.8v的小灯泡.以及符合实验要求的滑动变阻器.电表.开关和导线.图8是小强没有连接完的实物电路
厂家直销 h型 1 24节塑料接线端子排 led接线柱
厂家直销 端子台 接线端子 接线座 接线柱
如若转载,请注明出处:http://www.lydqpj.com/product/list-2.html